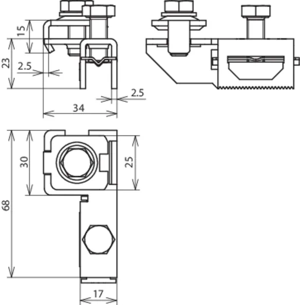
Abrazadera de banda con garras

Abrazaderas de banda para incluir las tuberías con la protección de superficie a la compensación de potencial para protección contra rayos según EN 62305-3 (VDE 0185-305-3). Utilizables para superficies hasta un espesor de capa de 0,2 mm (p. ej. lacas, recubrimientos de polvos).

Mediante las garras especiales es posible atravesar la protección de la superficie. Así no es necesario eliminar la protección de superficie en el punto de contacto.

Abrazadera de banda con garras (versión completa)

Conexión para: 1 conductor Rd Ø10 mm o 1-2 conductor Rd Ø6-8 mm oder 4-50 mm2 (rígido / flexible).

1 Producto

N.º art. 540200 BRS 27.168 Z AK1X10 2X6.8 V2A

GTIN 4013364113039, N.º de arancel aduanero (EU): 85359000, Peso bruto: 135.60 g, Empaquetado: 10.00 unidad(es)


Figuras

Más información


Material: INOX
Margen de apriete del tubo Ø: 27-168 mm (3/4-6'')
Conexión Rd: 1-2 x 6-8 mm / 1 x 10 mm
Conexión (rígido/flexible): 4-50 mm2
Norma: EN 62561-1

Producto DEHN
Tipo: BRS 27.168 Z AK1X10 2X6.8 V2A
art. no.: 540200
o equivalente

Certificados

 

Datos técnicos

Material INOX
Margen de apriete del tubo Ø 27-168 mm (3/4-6'')
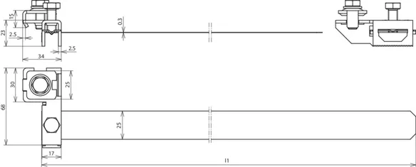
Dimensiones de la abrazadera (l1 x a x p) 570 x 25 x 0,3 mm
Norma EN 62561-1
*) En cuanto a la asignación exacta por favor véase el certificado de prueba.

Se ha añadido el artículo 540200 a favoritos.

El artículo 540200 ha sido añadido a la cesta de compra.


Cabeza de sujeción separada

Para combinación con cinta tensora (Art Nº 540 901).
Conexión para: 1 conductor Rd Ø10 mm o 1-2 conductores Rd Ø6-8 mm o 4-50 mm2 (rígido / flexible).

1 Producto

N.º art. 540210 SPK Z 25 BRS AK1X10 2X6.8 V2A

GTIN 4013364221284, N.º de arancel aduanero (EU): 85359000, Peso bruto: 100.00 g, Empaquetado: 50.00 unidad(es)


Figuras

Más información


Material: INOX
Conexión Rd: 1-2 x 6-8 mm / 1 x 10 mm
Conexión (rígido/flexible): 4-50 mm2
Norma: EN 62561-1

Producto DEHN
Tipo: SPK Z 25 BRS AK1X10 2X6.8 V2A
art. no.: 540210
o equivalente

Certificados

 

Datos técnicos

Material INOX
Norma EN 62561-1
*) En cuanto a la asignación exacta por favor véase el certificado de prueba.

Se ha añadido el artículo 540210 a favoritos.

El artículo 540210 ha sido añadido a la cesta de compra.


back to top