DEHNcon-H

En el tendido de cables no aislados del elemento captador directamente en el tejado, debe respetarse la distancia de separación de las instalaciones eléctricas y metálicas bajo del tejado según lo último en tecnología y la norma de protección contra rayo actual EN 62305-3 (VDE 0185-305-3). Bajo del tejado hay muchas instalaciones eléctricas, tuberías metálicas, cerca de elementos captadores/electrodos de dispersión y eso puede ser un problema de proximidad. La solución para estos problemas de proximidad se encuentra en elementos captadores separados con electrodos de dispersión aislados de la alta tensión.

– Nueva instalación para elementos captadores separados de sistemas de emisión y recepción (antenas parabólicas, terrestres) o de edificios completos o partes de edificios
– Versión con tendido por el interior del cable HVI light en el tubo de soporte, dimensión reducida de los tubos de soporte (tubo Al 40 x 5 mm) con poco peso de toda la estructura, también para el montaje de tubos de antena ya existentes
– El terminal interno sale por el lado inferior del tubo de soporte mediante una banda en acero inoxidable para la conexión a la compensación de potencial
– El electrodo de dispersión aislado, resistente a la alta tensión, asegura la distancia de separación de las partes con conductividad eléctrica según EN 62305-3 (VDE 0185-305-3)
– Distancia de separación equivalente s ≤ 45 cm (en aire) o s ≤ 90 cm (en material de construcción sólido)
– Tubo de soporte con banda aislante, tubo en poliéster reforzado con fibra de vidrio Ø30 mm
– Factor de material km = 0,7
– Color gris alba, estabilizado a rayos ultravioletas

El cable HVI light cumple los requerimientos según DIN IEC/TS 62561-8 (VDE V 0185-561-8).

Detalles

Detalle: tubo de soporte con tendido del conductor.
lorem ipsum

Cable HVI light en el tubo de soporte con punta captadora

Con terminal interno y punta captadora en INOX Ø10 mm

4 Productos

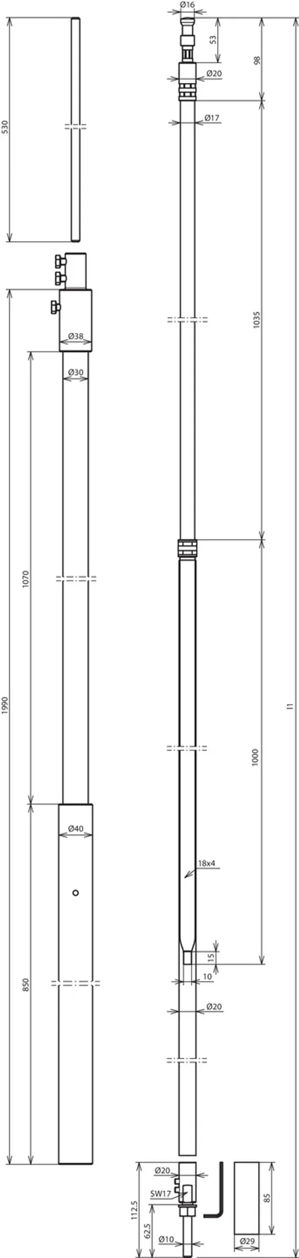
N.º art. 819255 HVI LI 20 L6M SR1990 FSP500 GFK AL V2A

GTIN 4013364255371, N.º de arancel aduanero (EU): 85389099, Peso bruto: 6.84 kg, Empaquetado: 1.00 unidad(es)

Predecesor

Figuras

Más información

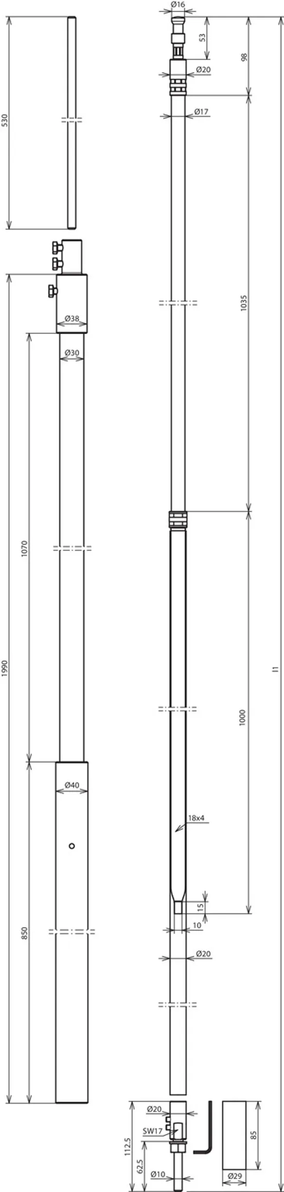
DEHNcon-H cable HVI light en un tubo autosoportado
de 1990 mm con punta captadora de 500 mm
DEHNcon-H instalación captadora aislada
por ej. de sistemas de emisión y recepción
(antenas parabólicas y terrestres).
Versión ópticamente adaptada por el cableado interior
del cable HVI light en el tubo autosoportado
Electrodo de dispersión aislado resistente a la alta tensión para
mantener la distancia de separación de partes conductoras
según la DIN EN 62305-3 (VDE 0185-305-3)
Distancia de separación equivalente s =< 45 cm (en aire)
o s =< 90 cm (material de construcción sólido).
Los tubos autosoportados están dimensionados según
el eurocódigo 1 (DIN EN 1991-1-4 + DIN EN 1991-1-4/NA).
El cable HVI light está cableado en el tubo autosoportado,
con una conexión terminal especial interior y punta captadora de
Ø10 mm y longitud de 500 mm.
Material del tubo de soporte: poliéster reforzado con fibra de vidrio / Al
Longitud del tubo de soporte: 1990 mm
Diámetro Ø del cable: 20 mm
Color del cable: gris ●
Material del cable: Cu
Distancia de separación equivalente (en aire): ≤ 45 cm
Longitud mín. de pedido : 6 m
Máx. velocidad del viento : (máx. longitud libre 1890 mm, 1x HVI light en el interior) 240 km/h
Máx. longitud libre: 1890 mm
Longitud mín. de sujeción: 600 mm
Normativa: DIN IEC/TS 62561-8 (VDE V 0185-561-8)

Producto DEHN
Tipo: HVI LI 20 L6M SR1990 FSP500 GFK AL V2A
art. no.: 819255
o equivalente

Certificados

 

Datos técnicos

Material del tubo de soporte poliéster reforzado con fibra de vidrio / Al
Longitud del tubo de soporte 1990 mm
Longitud de la punta captadora 500 mm
Material del cable Cu
Distancia de separación equivalente (en aire) ≤ 45 cm
Longitud mín. de pedido 6 m
Máx. velocidad del viento (máx. longitud libre 1890 mm, 1x HVI light en el interior) 240 km/h
Máx. longitud libre 1890 mm
Longitud mín. de sujeción 600 mm
Normativa DIN IEC/TS 62561-8 (VDE V 0185-561-8)

Se ha añadido el artículo 819255 a favoritos.

El artículo 819255 ha sido añadido a la cesta de compra.

N.º art. 819256 HVI LI 20 L6M SR1990 FSP1000 GFK AL V2A

GTIN 4013364255388, N.º de arancel aduanero (EU): 85389099, Peso bruto: 7.14 kg, Empaquetado: 1.00 unidad(es)

Predecesor

Figuras

Más información

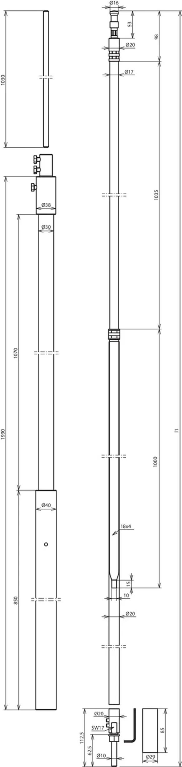
DEHNcon-H cable HVI light en un tubo autosoportado
de 1990 mm con punta captadora de 1000 mm
DEHNcon-H instalación captadora aislada
por ej. de sistemas de emisión y recepción
(antenas parabólicas y terrestres).
Versión ópticamente adaptada por el cableado interior
del cable HVI light en el tubo autosoportado
Electrodo de dispersión aislado resistente a la alta tensión para
mantener la distancia de separación de partes conductoras
según la DIN EN 62305-3 (VDE 0185-305-3)
Distancia de separación equivalente s =< 45 cm (en aire)
o s =< 90 cm (material de construcción sólido).
Los tubos autosoportados están dimensionados según
el eurocódigo 1 (DIN EN 1991-1-4 + DIN EN 1991-1-4/NA).
El cable HVI light está cableado en el tubo autosoportado,
con una conexión terminal especial interior y punta captadora de
Ø10 mm y longitud de 1000 mm.
Material del tubo de soporte: poliéster reforzado con fibra de vidrio / Al
Longitud del tubo de soporte: 1990 mm
Diámetro Ø del cable: 20 mm
Color del cable: gris ●
Material del cable: Cu
Distancia de separación equivalente (en aire): ≤ 45 cm
Longitud mín. de pedido : 6 m
Máx. velocidad del viento : (máx. longitud libre 2390 mm, 1x HVI light en el interior) 200 km/h
Máx. longitud libre: 2390 mm
Longitud mín. de sujeción: 600 mm
Normativa: DIN IEC/TS 62561-8 (VDE V 0185-561-8)

Producto DEHN
Tipo: HVI LI 20 L6M SR1990 FSP1000 GFK AL V2A
art. no.: 819256
o equivalente

Certificados

 

Datos técnicos

Material del tubo de soporte poliéster reforzado con fibra de vidrio / Al
Longitud del tubo de soporte 1990 mm
Longitud de la punta captadora 1000 mm
Material del cable Cu
Distancia de separación equivalente (en aire) ≤ 45 cm
Longitud mín. de pedido 6 m
Máx. velocidad del viento (máx. longitud libre 2390 mm, 1x HVI light en el interior) 200 km/h
Máx. longitud libre 2390 mm
Longitud mín. de sujeción 600 mm
Normativa DIN IEC/TS 62561-8 (VDE V 0185-561-8)

Se ha añadido el artículo 819256 a favoritos.

El artículo 819256 ha sido añadido a la cesta de compra.

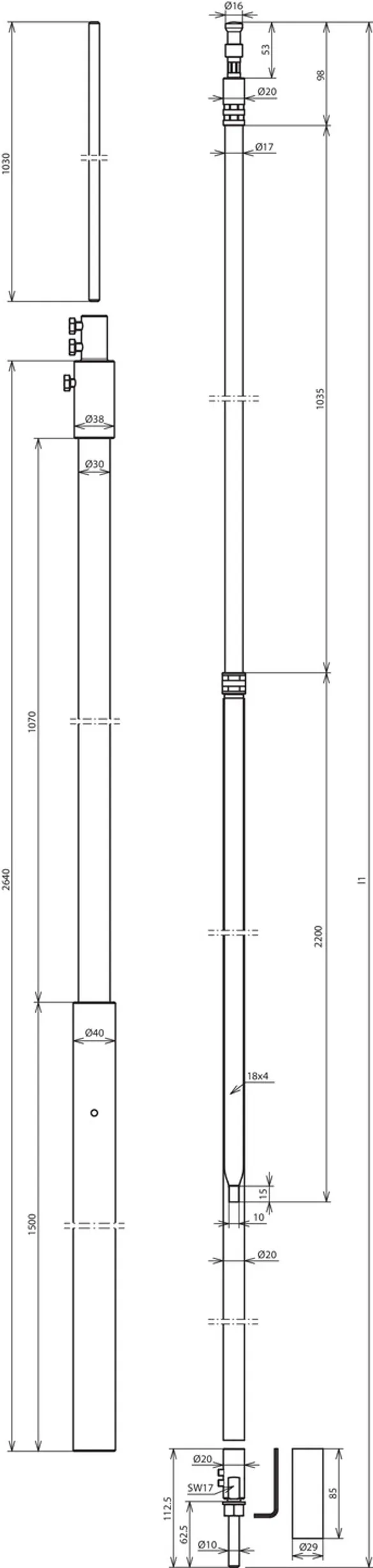
N.º art. 819257 HVI LI 20 L6M SR2640 FSP500 GFK AL V2A

GTIN 4013364255395, N.º de arancel aduanero (EU): 85389099, Peso bruto: 7.79 kg, Empaquetado: 1.00 unidad(es)

Predecesor

Figuras

Más información

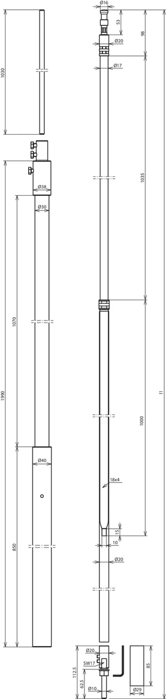
DEHNcon-H cable HVI light en un tubo autosoportado
de 2640 mm con punta captadora de 500 mm
DEHNcon-H instalación captadora aislada
por ej. de sistemas de emisión y recepción
(antenas parabólicas y terrestres).
Versión ópticamente adaptada por el cableado interior
del cable HVI light en el tubo autosoportado
Electrodo de dispersión aislado resistente a la alta tensión para
mantener la distancia de separación de partes conductoras
según la DIN EN 62305-3 (VDE 0185-305-3)
Distancia de separación equivalente s =< 45 cm (en aire)
o s =< 90 cm (material de construcción sólido).
Los tubos autosoportados están dimensionados según
el eurocódigo 1 (DIN EN 1991-1-4 + DIN EN 1991-1-4/NA).
El cable HVI light está instalado en el tubo autosoportado,
con una conexión terminal especial interior y punta captadora de
Ø10 mm y longitud de 500 mm.
Material del tubo de soporte: poliéster reforzado con fibra de vidrio / Al
Longitud del tubo de soporte: 2640 mm
Diámetro Ø del cable: 20 mm
Color del cable: gris ●
Material del cable: Cu
Distancia de separación equivalente (en aire): ≤ 45 cm
Longitud mín. de pedido : 6 m
Máx. velocidad del viento : (máx. longitud libre 2540 mm, 1x HVI light en el interior) 240 km/h
Máx. longitud libre: 2540 mm
Longitud mín. de sujeción: 600 mm
Normativa: DIN IEC/TS 62561-8 (VDE V 0185-561-8)

Producto DEHN
Tipo: HVI LI 20 L6M SR2640 FSP500 GFK AL V2A
art. no.: 819257
o equivalente

Certificados

 

Datos técnicos

Material del tubo de soporte poliéster reforzado con fibra de vidrio / Al
Longitud del tubo de soporte 2640 mm
Longitud de la punta captadora 500 mm
Material del cable Cu
Distancia de separación equivalente (en aire) ≤ 45 cm
Longitud mín. de pedido 6 m
Máx. velocidad del viento (máx. longitud libre 2540 mm, 1x HVI light en el interior) 240 km/h
Máx. longitud libre 2540 mm
Longitud mín. de sujeción 600 mm
Normativa DIN IEC/TS 62561-8 (VDE V 0185-561-8)

Se ha añadido el artículo 819257 a favoritos.

El artículo 819257 ha sido añadido a la cesta de compra.

N.º art. 819258 HVI LI 20 L6M SR2640 FSP1000 GFK AL V2A

GTIN 4013364255418, N.º de arancel aduanero (EU): 85389099, Peso bruto: 8.09 kg, Empaquetado: 1.00 unidad(es)

Predecesor

Figuras

Más información

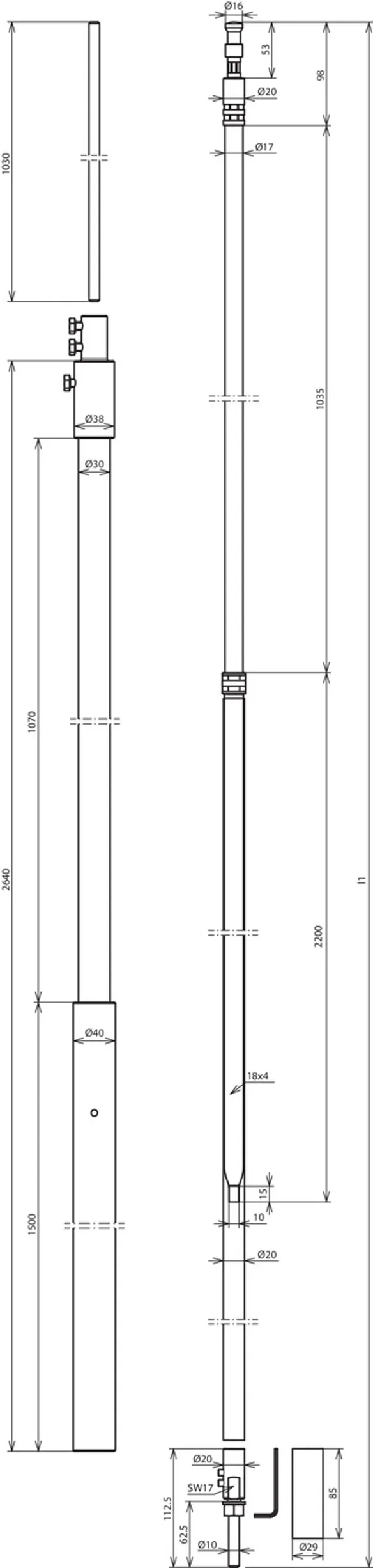
DEHNcon-H cable HVI light en un tubo autosoportado
de 2640 mm con punta captadora de 1000 mm
DEHNcon-H instalación captadora aislada
por ej. de sistemas de emisión y recepción
(antenas parabólicas y terrestres).
Versión ópticamente adaptada por el cableado interior
del cable HVI light en el tubo autosoportado
Electrodo de dispersión aislado resistente a la alta tensión para
mantener la distancia de separación de partes conductoras
según la DIN EN 62305-3 (VDE 0185-305-3)
Distancia de separación equivalente s =< 45 cm (en aire)
o s =< 90 cm (material de construcción sólido).
Los tubos autosoportados están dimensionados según
el eurocódigo 1 (DIN EN 1991-1-4 + DIN EN 1991-1-4/NA).
El cable HVI light está cableado en el tubo autosoportado,
con una conexión terminal especial interior y punta captadora de
Ø10 mm y longitud de 1000 mm.
Material del tubo de soporte: poliéster reforzado con fibra de vidrio / Al
Longitud del tubo de soporte: 2640 mm
Diámetro Ø del cable: 20 mm
Color del cable: gris ●
Material del cable: Cu
Distancia de separación equivalente (en aire): ≤ 45 cm
Longitud mín. de pedido : 6 m
Máx. velocidad del viento : (máx. longitud libre 3040 mm, 1x HVI light en el interior) 201 km/h
Máx. longitud libre: 3040 mm
Longitud mín. de sujeción: 600 mm
Normativa: DIN IEC/TS 62561-8 (VDE V 0185-561-8)

Producto DEHN
Tipo: HVI LI 20 L6M SR2640 FSP1000 GFK AL V2A
art. no.: 819258
o equivalente

Certificados

 

Datos técnicos

Material del tubo de soporte poliéster reforzado con fibra de vidrio / Al
Longitud del tubo de soporte 2640 mm
Longitud de la punta captadora 1000 mm
Material del cable Cu
Distancia de separación equivalente (en aire) ≤ 45 cm
Longitud mín. de pedido 6 m
Máx. velocidad del viento (máx. longitud libre 3040 mm, 1x HVI light en el interior) 201 km/h
Máx. longitud libre 3040 mm
Longitud mín. de sujeción 600 mm
Normativa DIN IEC/TS 62561-8 (VDE V 0185-561-8)

Se ha añadido el artículo 819258 a favoritos.

El artículo 819258 ha sido añadido a la cesta de compra.


back to top