Conector paralelo para zonas Ex 1/21, 2/22

Conector paralelo con arandela elástica para conectar conductores redondos/cables en zonas con riesgo de explosión 1/21, 2/22. Las bornas están aseguradas contra aflojamiento autónomo de acuerdo con DIN EN 62305-3, suplemento 2 (VDE 0185-305-3 Bbl 2).

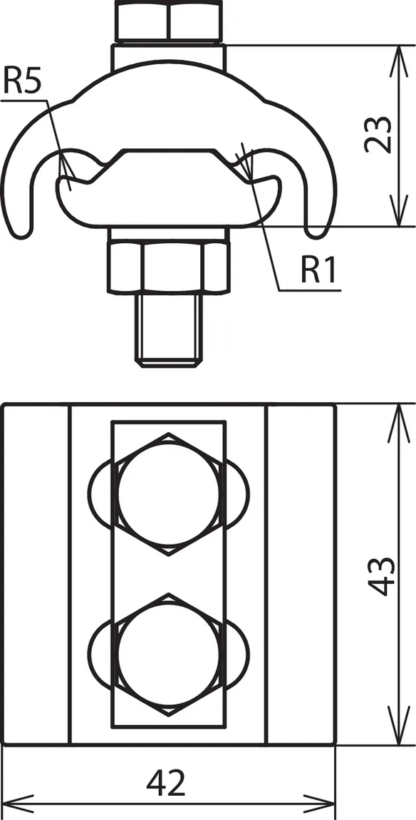
Para diámetros de cable iguales y diferentes, versión menor

1 Producto

N.º art. 306105 PV 5.12.5 SKM8X45 GSG CUGALSN

GTIN 4013364269125, N.º de arancel aduanero (EU): 85369095, Peso bruto: 250.00 g, Empaquetado: 1.00 unidad(es)


Figuras

Más información

Conector paralelo para diferentes diámetros de cables,
versión menor Cu/gal Sn
Conector paralelo para construir un sistema
de compensación de potencial en atmósferas con riesgo de explosión.
Comprobado por su seguridad de encendido para
su empleo en zonas con riesgo de explosión, las zonas Ex 1 y 2 (gases del grupo de explosiones IIC)
así como las zonas Ex 21 y 22 (polvos). Versión menor, para diferentes diámetros de cable,
con arandela elástica así como dos tornillos asegurados a aflojamiento autónomo
de acuerdo con la DIN EN 62305-3 Suplemento 2.
Material de la borna: Cu/gal Sn
Margen de apriete Rd/Rd: 5-12,5 mm
Margen de apriete (flexible/cable): 16-95 mm2
Normativa: de acuerdo con EN 62561-1

Producto DEHN
Tipo: PV 5.12.5 SKM8X45 GSG CUGALSN
art. no.: 306105
o equivalente

Certificados

 

Datos técnicos

Material de la borna Cu/gal Sn
Margen de apriete Rd/Rd 5-12,5 mm
Margen de apriete (flexible/cable) 16-95 mm2
Corriente de choque de rayo (10/350 µs), seguro de encendido 25 kA
Corriente de cortocircuito (50 Hz) (0,1 s) seguro de encendido 1,65 kA
Normativa de acuerdo con EN 62561-1
*) Para la asignación exacta por favor véase el certificado de prueba.

Se ha añadido el artículo 306105 a favoritos.

El artículo 306105 ha sido añadido a la cesta de compra.


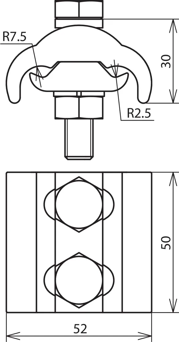
Para diámetros de cable iguales y diferentes, versión mayor

1 Producto

N.º art. 306106 PV 5.16 SKM10X50 GSG CUGALSN

GTIN 4013364269149, N.º de arancel aduanero (EU): 85369095, Peso bruto: 424.40 g, Empaquetado: 1.00 unidad(es)


Figuras

Más información

Conector paralelo para diferentes diámetros de cables,
versión mayor Cu/gal Sn
Conector paralelo para construir un sistema
de compensación de potencial en atmósferas con riesgo de explosión.
Comprobado por su seguridad de encendido para
su empleo en zonas con riesgo de explosión, las zonas Ex 1 y 2 (gases del grupo de explosiones IIC)
así como las zonas Ex 21 y 22 (polvos). Versión mayor, para diferentes diámetros de cable,
con arandela elástica así como dos tornillos asegurados a aflojamiento autónomo
de acuerdo con la DIN EN 62305-3 Suplemento 2.
Material de la borna: Cu/gal Sn
Margen de apriete Rd/Rd: 5-16 mm
Margen de apriete (flexible/cable): 16-150 mm2
Normativa: de acuerdo con EN 62561-1

Producto DEHN
Tipo: PV 5.16 SKM10X50 GSG CUGALSN
art. no.: 306106
o equivalente

Certificados

 

Datos técnicos

Material de la borna Cu/gal Sn
Margen de apriete Rd/Rd 5-16 mm
Margen de apriete (flexible/cable) 16-150 mm2
Corriente de choque de rayo (10/350 µs), seguro de encendido 25 kA
Corriente de cortocircuito (50 Hz) (0,1 s) seguro de encendido 1,65 kA
Normativa de acuerdo con EN 62561-1
*) Para la asignación exacta por favor véase el certificado de prueba.

Se ha añadido el artículo 306106 a favoritos.

El artículo 306106 ha sido añadido a la cesta de compra.


back to top